固定方式
Anschraubplatte. Rückenloch. Zapfen. Gewindestift.
顶板
螺栓孔
钢柱杆
螺纹杆
(产品代码后缀:-GS...)
插杆
(产品代码后缀:-ES)
圆管用塑料脚轮套筒 (产品代码:RHR...)
金属扩展器
(产品代码后缀:-E...)
塑料扩展器
(产品代码后缀:-ER.../-EV...)
脚轮用螺栓和螺母固定在平坦的表面上。螺
栓孔距均已标准化。
顶板配件可用于万向和定向脚轮,包括轻型负
载、运输设备和重型负载脚轮。
对于配定向制动器的脚轮,顶板必须在运行方
向上与短边对齐。
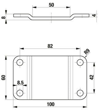
选择顶板配件时必须考虑以下尺寸:
- 顶板尺寸(外部尺寸)
- 螺栓孔距
- 螺栓孔直径
脚轮通过将连接元件(如螺栓)穿过万向头的
中心孔进行安装。对于调节脚轮 (HRIG系列),
螺栓孔带内螺纹,连接元件从装置一侧拧入万
向轮架的中心销。
只有在万向脚轮的顶板全直径完全支撑的情
况下才能达到此处所列的负载能力。
此种安装方式不提供强制性抗旋转锁定,因此
降低了万向旋转制动的承载能力。
通过螺栓孔安装脚轮是一种经济有效的解决
方案,因为它只需要一个螺栓(完全符合 DIN
912 / ISO 4762)。此固定方式主要用于轻型负
载和运输器械脚轮。
选择螺栓孔安装时必须考虑以下尺寸:
- 顶板直径(外部尺寸)(D)
- 螺栓孔直径 (d)
脚轮用一根柱杆安装,而柱杆是插入相应的管
子或孔中进行固定。插栓固定在脚轮上,必须
用固定螺栓(交叉孔)或夹持器防止其旋转或
脱落。
对于配定向制动器的脚轮,孔必须与运行方向
横向对齐。
只有在顶板沿万向脚轮全直径支撑的情况下
才能达到此处所列的负载能力。
插栓主要用于轻型负载、塑料和运输设备脚
轮。
不锈钢柱杆配件可用于不锈钢万向脚轮。
选择柱杆安装时必须考虑以下尺寸:
- 柱杆直径(P)
- 柱杆长度 (Q)
- 交叉孔位置(H),如果适用
- 交叉孔直径(d),如果适用
脚轮用一根螺纹杆安装,而螺纹杆是通过内螺
纹或圆柱形孔和螺母螺栓固定至运输设备
上。
螺纹杆安装主要用于轻型负载脚轮。
不锈钢螺纹杆 (-GSX...) 也可用于耐腐蚀塑料
万向脚轮。
选择螺纹杆安装时必须考虑以下尺寸:
- 螺纹杆直径(M10 或 M12 螺纹)(P)
- 螺纹杆长度(高出脚轮)(Q)
脚轮用一根插杆安装,而插杆是通过塑料脚轮
套筒插入相应的管子或孔中。插杆与脚轮紧
固连接。弹簧垫圈确保万向脚轮不会脱落。
此种安装方式不提供抗旋转锁定,因此没有万
向旋转制动效果。
插杆是一种将脚轮安装在装置上的快速经济
的方法。插杆安装主要用于轻型负载脚轮。
选择插杆安装时必须考虑以下尺寸:
- 插杆直径 (P)
- 插杆长度 (Q)
塑料脚轮套筒是一种适配器,用于将管子的内
径减小到插杆的直径。塑料脚轮套筒被压入
或打入装置(圆管)上的支架内。然后,带插杆
的万向脚轮被插入脚轮套筒。
选择塑料脚轮套筒时必须考虑以下尺寸:
- 管内径 (P)
- 插杆直径 (d)
- 安装长度 (Q)
- 边缘厚度 (B)
脚轮用一个金属扩展器安装,而金属扩展器是
插入孔或四方管/圆管中。
螺栓展开夹紧楔,将其压紧在管内壁上。
拧紧力矩不应超过 50 Nm。对于低强度的薄
管,拧紧力矩可以减小到 16 Nm。扩展器底部
的六角防止配件相对于脚轮旋转和松开。
金属扩展器配件用于轻型负载和塑料脚轮。
选择扩展器配件时必须考虑以下尺寸:
- 管内径 (P)
- 管状(圆管或四方管)
- 安装长度 (Q)
- 边缘厚度 (B)
脚轮用一个塑料扩展器安装,而塑料扩展器是
插入孔或四方管/圆管中。
螺栓将塑料夹紧楔压紧在管内壁上。
与金属扩展器配件相比,塑料扩展器对管道内
部提供了更好的保护。然而,它的夹持力比金
属扩展器配件要小。扩展器底部的六角防止
配件相对于脚轮旋转和松开。
塑料扩展器配件主要用于轻型负载和塑料脚
轮。
配耐腐蚀夹紧螺钉的塑料扩展器
(-EXR.../-EXV...) 也可供货。
选择扩展器配件时必须考虑以下尺寸:
- 管内径 (P)
- 管状(圆管或四方管)
- 安装长度 (Q)
- 边缘厚度 (B)
固定方式顶板配件
用于轻型负载和塑料脚轮的顶板配件
顶板编号 20
顶板编号 22
顶板编号 23
顶板编号 25(万向脚轮)
顶板编号 25(定向脚轮)
顶板编号 26
顶板编号 27
顶板编号 28
用于轮架系列:
LKDB 单轮直径 50–75 mm
用于轮架系列:
LPA / BPA 单轮直径 35–100 mm
LPXA / BPXA 单轮直径 50–75 mm
LDA 单轮直径 50 mm
用于轮架系列:
LDA 单轮直径 75 mm
LKDG / LKDB 单轮直径 75–100 mm
用于轮架系列:
LKPA 单轮直径 80–150 mm
LKPXA 单轮直径 80–125 mm
LWK / LWG-P25 单轮直径 100–125 mm
LWKX / LWGX-PX25 单轮直径 100–125 mm
LKFG / BKFG 单轮直径 125 mm
用于轮架系列:
BKPA 单轮直径 80–150 mm
BKPXA 单轮直径 80–125 mm
用于轮架系列:
LKPXA / BKPXA 单轮直径 125 mm
LWKX / LWGX-PX26 单轮直径 125 mm
用于轮架系列:
LKFGX / BKFGX 单轮直径 125 mm
用于轮架系列:
LWK / LWG-P28 单轮直径 100–125 mm
用于运输设备和重型负载脚轮的顶板配件



顶板编号 1
顶板编号 3
顶板编号 7
顶板编号 9
用于轮架系列:
LE / B 单轮直径 60–125 mm
LEX / BX 单轮直径 75–200 mm
L / B 单轮直径 75–125 mm
LX / BX 单轮直径 100–125 mm
LI / B 单轮直径 80–125 mm
LIX / BX 单轮直径 80–125 mm
LK / BK 单轮直径 75–125 mm
LKX / BKX 单轮直径 75–125 mm
LIK / BIK 单轮直径 100–125 mm
LIKX / BKX 单轮直径 100–125 mm
LH / BH 单轮直径 75–125 mm
LHD 单轮直径 60–80 mm
LHF / BHF 单轮直径 100–125 mm
LPFE / BPFE 单轮直径 100–125 mm
HRLH / HRLHD 单轮直径 75 mm
HRLK 单轮直径 75–100 mm
用于轮架系列:
LE / B 单轮直径 150–200 mm
LEX / BX 单轮直径 150–200 mm
L / B 单轮直径 140–250 mm
LX / BX 单轮直径 150–200 mm
LI / BI 单轮直径 150–200 mm
LIX / BX 单轮直径 150–200 mm
LK / BK 单轮直径 100–200 mm
LKX / BKX 单轮直径 125–200 mm
LUH / BH 单轮直径 125–200 mm
LH / BH 单轮直径 100–250 mm
LHD 单轮直径 80–125 mm
LO / BO 单轮直径 125–300 mm
LOD / BOD 单轮直径 75–125 mm
LS / BS 单轮直径 250–600 mm
LSD / BSD 单轮直径 250–500 mm
LHF / BHF 单轮直径 100-200 mm
LPFE / BPFE 单轮直径 125-150 mm
LSFN / BSFN 单轮直径 160-200 mm
LSFE / BSFE 单轮直径 160-200 mm
LIO / BO 单轮直径 125-200 mm
用于轮架系列:
L 单轮直径 250–280 mm
用于轮架系列:
B 单轮直径 250–280
用于重型负载脚轮的顶板配件

顶板编号 35
顶板编号 36
顶板编号 38
顶板编号 39
顶板编号 42
顶板编号 45
顶板编号 48
用于轮架系列:
LS / BS 单轮直径150–400 mm
LSD / BSD 单轮直径 100–200 mm
LSFN / BSFN 单轮直径 200–250 mm
LSFE / BSFE 单轮直径 200–250 mm
HRLSD 单轮直径 125 mm
用于轮架系列:
LS / BS 单轮直径 300–520 mm
LSFN / BSFN 单轮直径 250–300 mm
LSFE / BSFE 单轮直径 250 mm
用于轮架系列:
LS / BS 单轮直径 200–620 mm
LSD / BSD 单轮直径 125–360 mm
用于轮架系列:
BSD 单轮直径 300 mm
用于轮架系列:
LS / BS 250–600 mm
LSD / BSD 250–500 mm
用于轮架系列:
LSD / BSD 单轮直径 300–400 mm
用于轮架系列:
LSSD / BSSD 单轮直径 500 mm
用于调节脚轮的顶板配件

顶板编号 71
顶板编号 72
顶板编号 74
顶板编号 76
顶板编号 78
用于轮架系列:
HRP 单轮直径 45 mm
用于轮架系列:
HRP 单轮直径 50 mm
用于轮架系列:
HRP 单轮直径 63 mm
用于轮架系列:
HRP 单轮直径 72 mm
HRSP 单轮直径 72 mm
用于轮架系列:
HRSP 单轮直径 90 mm
带英制尺寸(英寸)的顶板配件



顶板编号 12
顶板编号 14
顶板编号 16
带非公制尺寸 (英寸) 的顶板配件,
符合 ASME B56.11.1
(见比克力“美国标准脚轮”产品目录)
带非公制尺寸 (英寸) 的顶板配件,
符合 ASME B56.11.1
(见比克力“美国标准脚轮”产品目录)
带非公制尺寸 (英寸) 的顶板配件,
符合 ASME B56.11.1
(见比克力“美国标准脚轮”产品目录)
用于 Progressus 脚轮的顶板配件



顶板编号 PG1
顶板编号 PG2
顶板编号 PG3
用于轮架系列:
LPX / BPX 单轮直径 84–105 mm
用于轮架系列:
LPX / BPX 单轮直径 120–150 mm
用于轮架系列:
LPX / BPX 单轮直径 186 mm